애플 프라임센스, 제스처로 맥 구동하는 동작 인식 기술 특허 출원
내 손짓으로 명하노니.

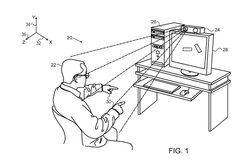
마이크로소프트의 키네틱 센서를 2013년에 인수한 애플. 잡스의 유산들은 이 기술을 어떻게 발전시켜 나갈까? 최근 애플은 손동작으로 맥을 구동하는 기술의 특허를 취득했다. 키네틱 센스 기술의 개발사이자 페이스 ID의 개발을 도왔던 프라임센스가 개발에 참여한 동작 인식 기술이다. 전작과 같이 TrueDepth 카메라 시스템을 기반으로 작동한다.
원리는 뭘까? 터치가 필요 없는 3D 유저 인터페이스다. 컴퓨터와 결합된 감지 장치의 가시 범위 안에서 손동작이 감지되면, 다수의 3D 좌표들이 명령으로 인식해 컴퓨터에 입력하는 방식이다. 밀거나 손을 흔들거나 손을 올리거나 하는 제스처도 추가될 예정. 페이스 ID 기술이 미래의 홈 패드에도 적용될 것이라는 추측도 들려온다. 미래에는 손짓, 나아가 눈빛으로 맥과 소통하는 시대가 도래할까?