꼼데가르송의 ‘치아’ 지갑 2종

지갑이 열리는 순간 입가에 미소가.

패션
21 0 Comments

꼼데가르송이 치아 지갑 2종을 선보인다. 어떻게 ‘치아’라는 이름이 붙었냐고? 간단하다. 지갑을 열어보면 안다. 매끄러운 검정 가죽 지갑의 지퍼를 여는 순간, 마치 사람의 입이 벌어진 듯한 진풍경이 펼쳐진다. 고르게 이어지는 치아, 분홍빛 잇몸, 혀의 돌기를 표현한 듯한 질감의 가죽 등 입속을 꽤 생동감 있게 묘사했다. 반지갑은 약 47만 원, 동전 지갑은 약 21만 원을 지급하면 손에 넣을 수 있다. 구매는 이곳에서.

더 보기

이전 글

꼼 데 가르송 셔츠 x 아식스 젤-카야노 14 공개
신발

꼼 데 가르송 셔츠 x 아식스 젤-카야노 14 공개

꼼 데 가르송의 향기가 풍긴다.

꼼 데 가르송 월렛 데님 포켓 컬렉션 공개
패션

꼼 데 가르송 월렛 데님 포켓 컬렉션 공개

위트 있는 지갑 컬렉션.

호카 ‘스피드 로퍼’ 새로운 컬러웨이 2종 출시
신발

호카 ‘스피드 로퍼’ 새로운 컬러웨이 2종 출시

출근할 때도, 뛸 때도 신는 로퍼.


블랙 꼼 데 가르송 x 나이키 필드 제너럴 82 공개
패션

블랙 꼼 데 가르송 x 나이키 필드 제너럴 82 공개

늘어나고 찢겨지고 불규칙하게 왜곡된 스우시.

스투시 서울의 2017 홀리데이 화보
패션

스투시 서울의 2017 홀리데이 화보

사진가 사라 사니의 시선으로.

컨버스 x 슬램잼 x 칼리 도른힐 드윗 제품군 & 국내 발매 정보
패션

컨버스 x 슬램잼 x 칼리 도른힐 드윗 제품군 & 국내 발매 정보

ft. 고어텍스.

뉴발란스 '더 로컬' - 암스테르담 디자이너 울라프 후세인
신발 

뉴발란스 '더 로컬' - 암스테르담 디자이너 울라프 후세인

Presented by New Balance
암스테르담이 낳은 디자인 천재.

빌리스 x 반스 '벨벳 시리즈' 처카 부츠
신발

빌리스 x 반스 '벨벳 시리즈' 처카 부츠

화려한 광택.

<하입비스트> x 디올 옴므 '섀도플레이' BMX 화보
패션

<하입비스트> x 디올 옴므 '섀도플레이' BMX 화보

2018 봄은 HARDIOR.

BSTN x 나이키 AF100 전용기 & 스포츠카 컬렉션
자동차

BSTN x 나이키 AF100 전용기 & 스포츠카 컬렉션

꼭 한번 타보고 싶다.


스투시 x 고어텍스 x 윈드스토퍼 기능성 의류 협업
패션

스투시 x 고어텍스 x 윈드스토퍼 기능성 의류 협업

돌아온 플리스의 계절.

앤드 원더 2018 SS 룩북
패션

앤드 원더 2018 SS 룩북

장대한 산맥을 영감으로 한 기능성 의류.

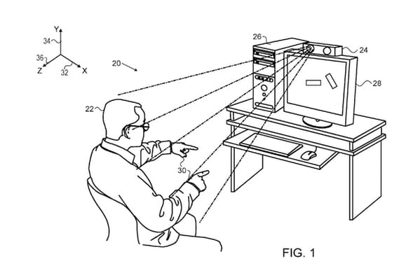
애플 프라임센스, 제스처로 맥 구동하는 동작 인식 기술 특허 출원
테크

애플 프라임센스, 제스처로 맥 구동하는 동작 인식 기술 특허 출원

내 손짓으로 명하노니.

OVO x 팀버랜드 6인치 부츠 & 사운드 라디오
신발

OVO x 팀버랜드 6인치 부츠 & 사운드 라디오

부엉이 부츠가 탄생했다.

‘평창 롱패딩’ 부럽지 않은 가격대별 롱 패딩 탑 9
패션 

‘평창 롱패딩’ 부럽지 않은 가격대별 롱 패딩 탑 9

리셀가 40만 원 주고 살 바에야.

나이키랩 ACG 2017 홀리데이 컬렉션
패션

나이키랩 ACG 2017 홀리데이 컬렉션

동물의 왕국.

More ▾
 
뉴스레터를 구독해 최신 뉴스를 놓치지 마세요