애플, 밴드처럼 붙여 사용하는 ‘손가락 마우스’ 만든다?
손목 톡증 바이바이.




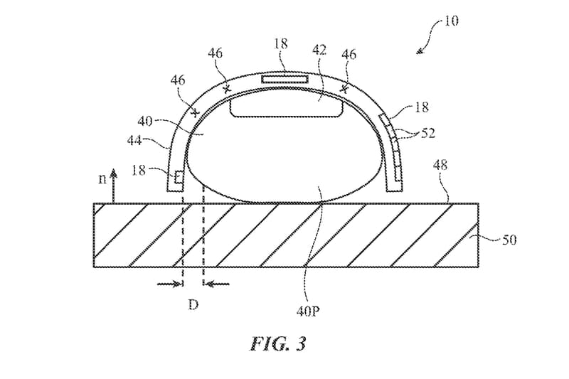
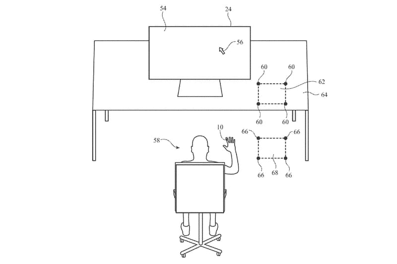
애플이 기존 마우스의 형태를 완전히 뛰어넘는 ‘밴드형 마우스’를 개발 중이다. <뉴욕 포스트>에 따르면, 애플은 미국 특허청에 ‘손가락 고정식 입력 디바이스’라는 제목의 특허를 출원했다. 특허 문서의 설명에 따르면, 이용자는 작은 밴드를 손가락에 부착함으로써 기존 마우스의 기능을 손가락 움직임으로 대신할 수 있다. 간단한 제스처만으로 클릭, 드래그, 스와이프, 스크롤 등의 다양한 신호를 데스크톱 등 장치로 전송할 수 있으며, 부착된 ‘힘 센서’를 통해 더욱 폭넓은 응용도 가능할 전망이다. 실제 해당 기기의 도입 여부 및 시기는 밝혀지지 않았다.