애플이 아이폰, 아이패드에 적용될 '롤러블 디스플레이'의 특허를 출원했다
‘상소문 에디션’은 계속된다?


미국 특허청에 따르면 애플은 최근 미래의 아이폰, 아이패드에 적용될 가능성이 있는 확장 가능한 디스플레이의 특허를 출원했다.
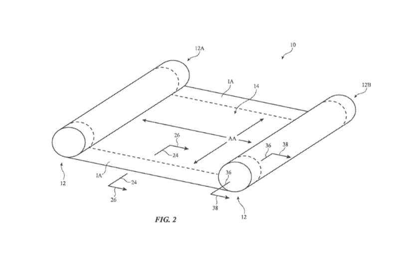
특허는 하나 이상의 롤러를 감싸는 플렉서블 디스플레이가 탑재된 ‘스크롤 가능한 장치’에 중점을 두고 있다. 플렉서블 디스플레이는 하우징에서 꺼내기 전과 후에 투명한 하우징 창을 통해 볼 수 있을 것으로 예상된다. 옵션 롤러는 플렉서블 디스플레이를 하우징에서 꺼낼 때 유용하게 사용할 수 있을 것으로 추정된다.
해당 특허가 적용된 기기는 두 개의 하우징과 펼쳤을 때는 평면형으로 사용할 수 있는 플렉서블 디스플레이가 탑재될 것으로 예상된다. 디스플레이를 평면으로 유지하기 위한 지지대 역할은 디스플레이 가장자리 혹은 중앙 활성 영역에 적용될 것으로 추정된다. 함께 적용된 자석은 디스플레이가 주름지는 것을 방지하는 역할과 하우징을 결합 및 분리하는 역할을 맡을 것으로 보인다. 이 밖에도 플렉서블 디스플레이와 일반 디스플레이, 두 가지가 동시에 적용될 수 있으며 이 경우 일반 디스플레이는 하우징에 장착되어 가상 키보드 역할을 할 수도 있다는 분석도 있다.