애플, '폴더블 아이폰'에 이어 '접히는 카메라' 개발한다?
다음에는 뭘 접을까?

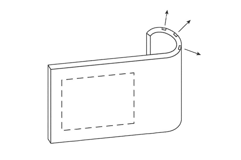
애플이 ‘폴더블 아이폰‘의 시제품을 개발하고 있다는 소식이 전해진 가운데, 최근 미국 특허청에서 ‘구부릴 수 있는 전자 기기용 카메라 시스템’이라는 제목의 특허를 발급받은 사실이 알려졌다. 특허에는 특정 전자 기기에 유연한 구조의 하우징을 적용하여 다양한 각도, 방향에서 파노라마나 3차원 사진을 촬영할 수 있다는 내용이 서술됐으며 스마트폰 자체가 아닌 스마트폰 케이스 등에 탑재되며 블루투스, 와이파이 등의 무선 기술을 통해 스마트폰과 연동될 전망이다. 다만, 특허 등록이 제품 출시로 연결되지 않는 경우가 잦은 만큼, ‘폴더블 카메라 하우징’ 또한 실제로 출시되지 않을 가능성도 있다. 애플이 출원한 특허 내용은 이곳에서, 특허청에 등록한 카메라의 사진은 상단 갤러리에서 확인 가능하다.